V230/231系列自力式压力调节阀概述
V230/231 D12/D13自力式压力调节阀(指挥器操作型),由调节阀、执行器、指挥器组成,是一种无需外来能源而只依靠被介质自身的压力变化进行自动调节压力的节能型产品,可用于非腐蚀性(最高温度350℃)的液体、气体和蒸汽等介质的压力控制装置。广泛适用于石油、化工、冶金、轻工等工业部门及城市供热、供暖系统。
V230/231系列自力式压力调节型号、规格
| 类别 |
压力控制调节阀 |
差压控制调节阀 |
| 阀前压力调节阀 |
阀后压力调节阀 |
差压上升阀关闭 |
差压上升阀开启 |
| 硬密封 |
软密封 |
硬密封 |
软密封 |
硬密封 |
软密封 |
硬密封 |
软密封 |
| 型号 |
V230 D13 |
V231 D13 |
V230 D12 |
V231 D12 |
V230 D03 |
V231 D03 |
V230 D04 |
V231 D04 |
| 规格 |
DN15-250 |
技术参数和性能指标
1、控制阀主要技术参数
| 公称通径mm |
15 |
20 |
25 |
32 |
40 |
50 |
65 |
80 |
100 |
125 |
150 |
200 |
250 |
| 额定流量系数Kvs |
3.2 |
5 |
8 |
12.5 |
20 |
32 |
50 |
80 |
125 |
160 |
320 |
450 |
630 |
| 公称压力MPa |
1.6;4.0 |
| Z值 |
0.6 |
0.6 |
0.6 |
0.55 |
0.55 |
0.5 |
0.45 |
0.45 |
0.4 |
0.35 |
0.3 |
0.2 |
0.2 |
| 最高工作温度℃ |
V230 V231 |
液体≤140;气体≤80 |
| 硬密封 V230 |
配隔离罐≤200 |
配隔离罐和加长件≤300 |
| 配隔离罐和散热片≤200 |
| 压力平衡元件 |
波纹管 |
滚动膜片 |
| 法兰标准 |
DIA(亦可按用户要求提供法兰标准) |
| 阀体材质 |
PN16:铸铁(工作温度≤200℃); PN4.0:铸钢、铸不锈钢(工作温度≤350℃) |
| 阀芯材质 |
不锈钢;软密封为不锈钢镶嵌橡胶圈 |
| 最高工作压力MPa |
公称压力(注意△Pmax及工作压力与工作温度的关系) |
注:
1、 液体>140℃、气体>80℃时阀倒装;
2、 Z值:噪音衡量系数,该值用来衡量噪音大小.
2、DA3/DA4执行器技术参数
| 有效面积(cm2) |
32※ |
80※ |
250※ |
630※ |
32※ |
80※ |
250※ |
630※ |
| 压力设定范围(Mpa) |
DA3 |
DA4 |
| 0.8~1.6 |
0.1~0.6 |
0.015~0.15 |
0.005~ 0.035 |
1.0~1.6 |
0.1~1.6 |
0.015~0.12 |
0.005~ 0.035 |
| 0.3~1.2 |
0.05~0.3 |
0.01~0.07 |
0.05~0.25 |
0.05~.025 |
0.01~0.06 |
| 保证压力阀正常工作最小压力压差△Pmin(Mpa) |
≥0.05 |
≥0.04 |
≥0.01 |
≥0.005 |
≥0.05 |
≥0.04 |
≥0.01 |
≥0.005 |
| 允许上、下膜室之间最大压差(Mpa) |
2.0 |
1.25 |
0.4 |
0.15 |
2.0 |
1.25 |
0.4 |
0.15 |
| 材质 |
膜盖:钢板镀锌 |
| 膜片:EPDM或FKM夹纤维※※ |
| 控制管线、接头 |
铜管或钢管10×1;卡套式接头R1/4″ |
| 设定值偏差 |
±80% |
注:
※DN150~250不能满足定值,可选用挥器操作型自力式压力调节阀
※EPDM适用于水、蒸汽和气体介质,FKM适用于油、水、蒸汽及气体介质,订货时应注明介质种类。
可根据不同的压力设定范围选项配合适的执行器与控制阀组成调压阀。
3、性能指标
| 控制精度 |
±8% |
| 允许泄漏量(在规定试验条件下)i/h |
硬密封 |
4X10-4X阀额定容量 |
| 软密封 |
DN15~50 |
DN65~125 |
DN150~250 |
| 10气泡/min |
20气泡/min |
40气泡/min |
4、允许压差
| 公称通径mm |
15 |
20 |
25 |
32 |
40 |
50 |
65 |
80 |
100 |
125 |
150 |
200 |
250 |
| PN16最大压差ΔP MPa |
1.6 |
1.6 |
1.6 |
1.6 |
1.6 |
1.6 |
1.6 |
1.6 |
1.5 |
1.5 |
1.2 |
1.0 |
1.0 |
| PN40最大压差ΔP MPa |
2.0 |
2.0 |
2.0 |
2.0 |
2.0 |
2.0 |
2.0 |
2.0 |
1.5 |
1.5 |
1.2 |
1.0 |
1.0 |
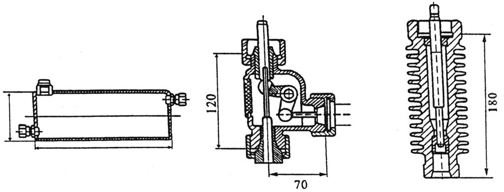
外形尺寸

图2a ZZYP DN15~125 |

图2b ZZYP DN150~250 |
1、V230/V231控制阀尺寸及重
| 公称通径DN |
15 |
20 |
25 |
32 |
40 |
50 |
65 |
80 |
100 |
125 |
150 |
200 |
250 |
| L(mm) |
190 |
190 |
184 |
220 |
222 |
254 |
276 |
298 |
350 |
451 |
451 |
600 |
670 |
| B(mm) |
212 |
212 |
238 |
238 |
240 |
240 |
275 |
275 |
380 |
380 |
295 |
325 |
372 |
| 大约重量(kg) |
6.2 |
6.7 |
9.7 |
14 |
17 |
17 |
29 |
33 |
60 |
70 |
80 |
140 |
220 |
2、D02(D04)执行器尺寸及重量
| 有效面积(cm2) |
32 |
80 |
250 |
630 |
| D(mm) |
172 |
172 |
263 |
680 |
| H(mm) |
435 |
430 |
470 |
520 |
| 大约重量(kg) |
7.5 |
7.5 |
13 |
28 |

3、D01(D03)执行器尺寸及重量
| 有效面积(cm2) |
32 |
80 |
250 |
630 |
| ΦR(mm) |
172 |
172 |
263 |
680 |
| H(mm) |
435 |
430 |
470 |
520 |
| 大约重量(kg) |
7.5 |
7.5 |
13 |
28 |
注:直接作用式自力式阀的总高及总重为控制阀与执行器高度及重量之和
附件型号、种类及外形尺寸
 |
隔离罐
(用于温度>140℃) |
组合件900/118
(用于多顶控制) |
散热
(用于温度>200℃) |
|

工作温度与作用介质压力的关系
1、 工作温度与允许介质压力的关系
| 材料 |
公称压力Mpa |
介质工作温度℃ |
| |
|
|
|
|
|
|
|
|
|
|
|
|
|
| 0.6 |
0.6 |
0.49 |
0.44 |
|
|
|
|
|
|
|
|
|
|
|
| HT200 |
1.6 |
1.6 |
1.27 |
1.09 |
|
|
|
|
|
|
|
|
|
|
|
| 4.0 |
|
4.0 |
3.7 |
3.3 |
3.0 |
2.8 |
2.3 |
1.8 |
|
|
|
|
|
|
| ZG230~450 |
6.4 |
|
6.4 |
5.9 |
5.2 |
4.7 |
4.1 |
3.7 |
2.9 |
|
|
|
|
|
|
| 0.6 |
|
0.6 |
|
0.56 |
|
0.5 |
|
|
0.45 |
0.36 |
0.32 |
0.28 |
0.25 |
|
| ZG1Cr18N9TiZG0Cr18Ni12Mo2Ti |
1.6 |
|
1.6 |
|
1.4 |
|
1.25 |
|
|
1.1 |
1.0 |
0.9 |
0.8 |
0.7 |
0.64 |
| 4.0 |
|
4.0 |
|
3.6 |
|
3.2 |
|
|
2.8 |
2.5 |
2.2 |
2.0 |
1.8 |
1.6 |
| 6.4 |
|
6.4 |
|
5.6 |
|
5.0 |
|
|
4.5 |
4.0 |
3.6 |
3.2 |
2.8 |
2.5 |
2.主要零件材料的使用温度范围
| 材料 |
温度范围℃ |
备注 |
| HT200 |
-20~200 |
|
| QT400-18、QT400-15 |
-20~350 |
|
| ZG230-450 |
-40~450 |
|
| ZG1Cr18Ni9Ti、ZG0Cr18Ni12Mo2Ti |
-250~50 |
|
| 2Cr13 |
-20~450 |
|
| 1Cr18Ni9 |
-196~550 |
|
| 0Cr18Ni12Mo2Ti |
-196~600 |
|
| 聚四氟乙烯 |
-40~200 |
|
| 碳纤维 |
-120~350 |
|
| 柔性石墨 |
-200~600 |
|
| 5860胶夹480D551棉纶帆布 |
-40~80 |
|
|