产品概述
适用过热蒸汽、高温油、热水、水、空气等,广泛应用于蒸汽加热器、干燥器、石油化工、制药、食品、水泥制品和环保等部门的自控系统。
结构特点:电磁间接先导膜片式操作结构
①本阀不受蒸汽准凝水影响;
②介质流体温度可达200℃;
③主阀芯采用特种材料,耐磨损;
④阀芯利用流体润滑作用,减少磨损;
⑤本阀采用先导式结构适用于大口径系列。
技术参数:

技术参数:
| 参数/型号 |
ZCZP-1 |
ZCZP-2 |
| 工作介质 |
常温液体气体等 |
调温液体、气体等 |
| 介质温度(℃) |
≤60 |
≤220 |
| 电源电压 |
AC220V其余规格可作特殊订货 |
| 工作压力(MPa) |
0.04~1.6 |
0.1~1.6 |
| 公称通径(mm) |
40 |
50 |
65 |
100 |
125 |
150 |
200 |
250 |
300 |
350 |
| 功率 |
24W |
50VA |
| 阀体材质 |
黄铜和不锈钢 |
铸钢和不锈钢 |
| 流量系数(Kv) |
按JB/T7352-94规定 |
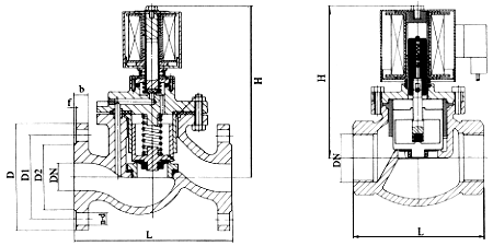
安装尺寸:
公称通径
DN |
内螺纹连接 |
法兰连接 |
| 内螺纹 |
外形尺寸 |
外形尺寸 |
法兰尺寸 |
| G |
H |
L |
H |
L |
D |
D1 |
D2 |
n-d |
b |
f |
| 40 |
11/2 |
200 |
145 |
244 |
141 |
150 |
110 |
84 |
4--Φ18 |
18 |
3 |
| 50 |
2 |
210 |
160 |
250 |
158 |
165 |
125 |
94 |
4--Φ18 |
20 |
3 |
| 65 |
|
|
|
260 |
290 |
185 |
145 |
118 |
4--Φ18 |
20 |
3 |
| 80 |
|
|
|
260 |
310 |
200 |
160 |
132 |
8-Φ18 |
20 |
3 |
| 100 |
|
|
|
290 |
350 |
220 |
180 |
156 |
8-Φ18 |
22 |
3 |
| 125 |
|
|
|
365 |
400 |
250 |
210 |
184 |
8-Φ18 |
22 |
3 |
| 150 |
|
|
|
400 |
480 |
285 |
240 |
211 |
8-Φ18 |
24 |
3 |
| 200 |
|
|
|
443 |
600 |
340 |
295 |
266 |
8-Φ18 |
24 |
3 |
| 250 |
|
|
|
493 |
750 |
395 |
350 |
319 |
12-Φ26 |
26 |
4 |
| 300 |
|
|
|
549 |
850 |
445 |
400 |
370 |
12-Φ26 |
28 |
4 |
| 350 |
|
|
|
600 |
980 |
520 |
470 |
429 |
16-Φ26 |
30 |
4 |
|