对夹球阀--详细介绍

产品概述:
本产品参照意大利产品的特点,与普通球阀相比,具有结构长度短、重量轻、安装方便、节省材料等显著的优点。对夹保温夹套球阀保温效果好。此外,阀座采用弹性密封结构,密封可靠,启闭轻松。设有耐火结构,万一发生火灾时,仍然能够可靠操作并具有良好的密封性。根据用户需要,可设有防静电结构。设置了90°开关带孔定位片,根据需要可以加锁,防止误操作。
产品用途:
对夹球阀及对夹保温夹套球阀适用于Class150、PN1.0~2.5MPa,工作温度 29~180℃(密封圈为增强聚四氟乙烯)或 29~300℃(密封圈为对位聚苯)的各种管路上,用于截断或接通管路中的介质,选用不同的材质,可分别适用于水、蒸汽、油品、硝酸、醋酸、氧化性介质、尿素等多种介质。
适用介质:水、气、油品、天然气和酸碱腐蚀性介质。
适用温度:-20~150~300℃
驱动方式:手动、气动、电动等。
公称压力:1.6~2.5MPa
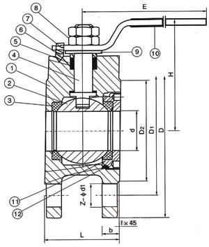
主要零件材料
序号
NO
|
零件名称 |
材质 |
| 1 |
阀体 |
不锈钢CF8M/CF8 |
碳钢WCB |
| 2 |
球 |
不锈钢316/304 |
不锈钢SS304 |
| 3 |
密封垫 |
聚四氟乙烯PTFE |
聚四氟乙烯PTFE |
| 4 |
阀杆 |
不锈钢316/304 |
不锈钢SS304 |
| 5 |
填料 |
聚四氟乙烯PTFE |
聚四氟乙烯PTFE |
| 6 |
定位锁 |
不锈钢304 |
不锈钢SS304 |
| 7 |
手柄 |
不锈钢304 |
不锈钢SS304 |
| 8 |
阀杆螺母 |
不锈钢304 |
不锈钢SS304 |
| 9 |
填料压盖 |
不锈钢304 |
不锈钢SS304 |
| 10 |
手柄套 |
塑料 |
塑料 |
| 11 |
密封瓶帽 |
不锈钢316/304 |
不锈钢SS304 |
| 12 |
垫圈 |
聚四氟乙烯PTFE |
聚四氟乙烯PTFE |

主要尺 寸 单位:mm
| SIZE |
1/2" |
3/4" |
1" |
11/4" |
11/2" |
2" |
21/2" |
3" |
4" |
5" |
6" |
8" |
| d |
15 |
20 |
25 |
29 |
38 |
|
62 |
76 |
92 |
110 |
145 |
195 |
| L |
32 |
38.5 |
45 |
55 |
62 |
72 |
95 |
120 |
145 |
200 |
225 |
275 |
| D |
95 |
105 |
115 |
135 |
145 |
160 |
180 |
195 |
215 |
245 |
280 |
335 |
| D1 |
65 |
75 |
85 |
100 |
110 |
125 |
145 |
160 |
180 |
210 |
240 |
295 |
| D2 |
45 |
55 |
65 |
78 |
85 |
100 |
120 |
135 |
155 |
185 |
210 |
265 |
| H |
62 |
70 |
79 |
86 |
92 |
102 |
158 |
172 |
187 |
200 |
240 |
278 |
| E |
110 |
125 |
135 |
150 |
150 |
180 |
250 |
300 |
350 |
650 |
840 |
1000 |
| b |
14 |
14 |
16 |
16 |
18 |
20 |
22 |
24 |
24 |
26 |
26 |
28 |
| z-d1 |
4-14 |
4-14 |
4-14 |
4-18 |
4-18 |
4-18 |
4-18 |
8-18 |
8-18 |
8-18 |
8-23 |
12-20 |
| f |
2 |
2 |
2 |
3 |
3 |
3 |
3 |
3 |
3 |
3 |
3 |
3 |
|