气动球阀特点及用途
气动球阀主要用于截断或接通管路中的介质,亦可用用于流体的调节与控制,它与其它阀类相比,具有以下一些优点。
1、流体阻力小、球阀是所有阀类中流体阻力最小的一种,即使是缩径球阀,其流体阻力也相当小。
2、止推轴承减小阀杆磨擦力矩,可使阀杆长期操作平稳灵活。
3、阀座密封性能好,采用聚四氟乙烯等弹性材料制成的密封圈,结构易于密封,而且球阀的阀封能力随着介质压力的增高而增大。
4、阀杆密封可靠,由于阀杆只作彷转动运而不做升降运动,阀杆的填料密封不易破坏,且密封能力随着介质的压力增高而增大。
5、由于聚四氟乙烯等材料具有良好的自润滑性,与球体的磨擦损失小,故球阀的使用寿命长。
6、下装式阀杆和阀杆头部凸阶防止阀杆喷出,如火灾造成阀杆密封破坏,凸阶与阀体间还可形成金属接触,确保阀杆密封。
7、 防静电功能:在球体、阀杆、阀体之间设置弹簧,能将开关过程产生的静电导出。
执行机构
采用新型系列GT型气动执行器,有双作用式和单作用式(弹簧复位),齿轮齿条传动,安全可靠;大口径阀门采用系列AW型气动执行器拔叉式传动,结构合理,输出扭矩大,有双作用式和单作用式。
1、齿轮式双活塞,输出力矩大,体积小。
2、气缸选用铝金材料,重量轻、外形美观。
3、可在顶部、底部安装手动操作机构。
4、齿条式连接可调节开启角度、额定流量。
5、执行器可选带电讯号反馈指示及各类附件以实现自动化操作。
6、IS05211标准连接为产品的安装更换提供了方便。
7、两端调的节螺钉可使标准产品在0°和90°有±4°的可调范围。确保与阀门的同步精度。
附件的选项
根据不同控制和要求可选择下列附件:
切断型附件:单电控电磁阀、双电控电磁阀、限位开关回讯器。
调节型附件:电气定位器、气动定位器、电气转换器。
气源处理附件:空气过滤减压阀、气源处理三联件。
手动机构:HVSD手操机构
执行标准
1、设计与制造:GB12237-89、API608、API 6D、JPI 7S-48、BS5351、DIN3357。
2、法兰尺寸:JB/T74~90(JB74~90)、GB9112~9131、HGJ44~76、SH3406、ANSI B16.5、JIS B2212~2214、NF E29-211、DIN2543。
3、结构长度:GB12221-89、ANSI B16.10、JIS B2002、NF E29-305、DIN3202。
4、检验主试验:JB/T 9092、API 598。
性能规范
| 公称通径mm |
DN15-DN300 |
| 材料代号 |
C |
P |
R |
|
主要
零件
|
阀体 |
WCB |
ZG1Cr18
Ni9Ti |
ZG1Cr18Ni
12Mo2Ti |
| 球体 |
2Cr13 |
1Cr18Ni9Ti |
1Cr18Ni12MoTi |
| 阀杆 |
2Cr13 |
1Cr18Ni9Ti |
1Cr18Ni12MoTi |
| 密封圈 |
增强聚四氟乙烯 对位聚苯 金属密封 |
| 填料 |
聚四氟乙烯 柔性石墨 |
适用
工况 |
适用
介质 |
蒸汽、
水、油品 |
硝酸类 |
醋酸类 |
适用
温度 |
-28℃ - 300℃ |
| 执行器 |
型号 |
DA/SR系列、GTD/GTE系列、QGSY系列等 |
气源
压力 |
0.4-0.7MPa |

试验压力
(Mpa) |
公称压力(Mpa) |
压力级(class) |
JIS(Mpa) |
| 1.6 |
2.5 |
4.0 |
6.4 |
10.0 |
150 |
300 |
600 |
10K |
20K |
| 强度试验 |
2.4 |
3.8 |
6.0 |
9.6 |
15.0 |
3.1 |
7.8 |
15.3 |
2.4 |
3.8 |
| 密封试验 |
1.8 |
2.8 |
4.4 |
7.0 |
11.0 |
2.2 |
5.6 |
11.2 |
1.5 |
2.8 |
| 气密试验 |
0.5~0.7 |
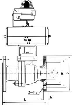
安装尺寸表
公称通径
DN(mm) |
尺 寸(mm) |
执 行 器 型 号 |
| 1.6MPa |
2.5MPa |
4.0MPa |
| L |
D |
D1 |
b |
Z-фD |
L |
D |
D1 |
b |
Z-фD |
L |
D |
D1 |
b |
Z-фD |
可选配DA/SR、QGSY、
SY-CH、GTD/GTE
AW/AWS、SY-YD、
系列执行器
以上选配仅供参考具体
选区用根据实际要求 |
| 15 |
130 |
95 |
65 |
14 |
4-14 |
130 |
95 |
65 |
16 |
4-14 |
130 |
130 |
65 |
16 |
4-14 |
| 20 |
130 |
105 |
75 |
14 |
4-14 |
130 |
105 |
75 |
16 |
4-14 |
150 |
150 |
75 |
16 |
4-14 |
| 25 |
140 |
115 |
85 |
14 |
4-14 |
140 |
115 |
85 |
16 |
4-14 |
160 |
160 |
85 |
16 |
4-14 |
| 32 |
165 |
135 |
100 |
16 |
4-18 |
165 |
135 |
100 |
18 |
4-18 |
180 |
180 |
100 |
18 |
4-18 |
| 40 |
165 |
145 |
110 |
16 |
4-18 |
165 |
145 |
110 |
18 |
4-18 |
200 |
200 |
110 |
18 |
4-18 |
| 50 |
203 |
160 |
125 |
16 |
4-18 |
203 |
160 |
125 |
20 |
4-18 |
230 |
230 |
125 |
20 |
4-18 |
| 65 |
222 |
180 |
145 |
18 |
4-18 |
222 |
180 |
145 |
22 |
8-18 |
290 |
290 |
145 |
22 |
8-18 |
| 80 |
241 |
195 |
160 |
20 |
8-18 |
241 |
195 |
160 |
22 |
8-18 |
310 |
310 |
160 |
22 |
8-18 |
| 100 |
305 |
215 |
180 |
20 |
8-18 |
305 |
230 |
190 |
24 |
8-23 |
350 |
350 |
190 |
24 |
8-23 |
| 125 |
356 |
245 |
210 |
22 |
8-18 |
356 |
270 |
220 |
28 |
8-25 |
400 |
270 |
220 |
28 |
8-25 |
| 150 |
394 |
280 |
240 |
24 |
8-23 |
394 |
300 |
250 |
30 |
8-25 |
480 |
300 |
250 |
30 |
8-25 |
| 200 |
457 |
335 |
295 |
28 |
12-23 |
457 |
360 |
310 |
34 |
12-25 |
600 |
375 |
320 |
38 |
12-30 |
|