一、主要性能参数
公称压力:1.6,2.5.4.0.6.4MPa
使用温度:-29~425℃(碳钢)-40~+550℃(不锈钢)
公称通径:DN50~800mm
阀体材质:304.306.316L.WCB.HT200
连接法兰:JB/T79.GB913.HG20592
适用介质:空气、水、蒸汽、油及硝酸、醋酸等腐蚀性流体
作用方式:切断型,调节型,手动控制
电源电压:220VAC、24VAC
输入信号:4~20mA/1~5VDC
0~20mA/0~10VDC
| 型号 |
Z6S41H-25 |
Z6S41H-16 |
Z6S41T-10 |
| 公称通径DN(mm) |
50~600 |
40~400 |
40~400 |
| 适用介质 |
水、蒸气
、油品 |
水、蒸气 |
水、蒸气 |
| 最高介质温度(℃) |
425 |
425 |
200 |
| 气缸工作压力(表)MPa |
0.4~0.6 |
二、用途及使用范围
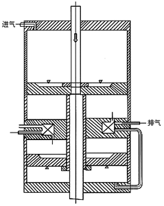
Z6S41系列气动带手动楔式闸阀是具有气动执行机构(双层气缸,并带有缓冲机构)和手动及其保护机构(手动和可自锁的气动-手动转换装置)的低支架明杆闸阀。该阀由于采用双层气缸结构,其与单气缸式气动闸阀相比,提升力增大了一倍。这就从根本上解决了单气缸气动闸阀的某些阀体内楔死而打不开的弊病。而且,由于该阀具备缓冲机构,能有效地减速轻了关闭阀门时,由于活塞下行冲击而造成的阀板车密封面和阀体密封面的磨损,同时,也能避免闸板卡死的现象。
为了配合用户实现操作自动化,本公司除供应本系列产品之外,还可单独提供包括支架在内的气缸体,帮助用户对已有的种类繁多的手动闸阀进行改造,将双缸气动执行机构部分安装在手动闸阀的阀体大盖上,即可构成双缸式气动-手动两用闸阀。
由于其技术先进,性能可靠,操作切换和维修方便,已被石油、化工、冶金、电力、海运等部门作为输送气体、液体介质的管道开闭装置而广泛使用。
三、结构原理
本系列产品以0.4~0.6MPa(表压)净化压缩空气作工作压力,推动活塞,带动闸板作垂直于流体的位移,实现开启开关闭阀门的目的。
巧妙设计的双层气缸和缓冲机构
双层气缸和缓冲机构的工作原理,按闸板工作的四个阶段分述如下:
(附插原理图①、②、③、④)
1、闸阀开启前阶段:上层气缸的活塞(以下简称上活塞)和下层气缸的活塞(以下简称下活塞)同时受力,阀杆在上、下活塞的推动下,以单活塞近二倍的提升力,克服闸板密封面和阀体密封面之间的最大静磨擦力,带动闸板上升。 压缩空气由上气缸的下气室,经由设置在隔板的特定通道,通过连通管,到达下气缸的下气室,推动上下活塞同时工作。下气缸上气室中的气体,经过设置在隔板内的另一特定通道。畅通无阻的排出气缸体外。
2、闸阀开启的后阶段:在闸板稍稍开启以后,下活塞就运行到了上死点,闸板在上活塞的带动下,继续提升,直至到了全开位置。
3、闸阀关闭的前阶段:在上活塞的推动下,闸板离开全开位置,开始下降。
4、闸板关闭的后阶段:当上活塞碰到下活塞凸台,并带动下活塞一起继续下降时,由于下气缸上气室的进气通道和下气缸下气室的排气通道设有阻碍,明显地减慢了下行的速度,进至闸板下降到了全关位置。减缓闸板下行的冲击,自行可关严阀门,又不使阀板楔得过紧,同时,还保护了密封面,免受猛烈冲击而损坏。
灵活可靠的气动-手动转换机构,装气缸盖上部的气动-手动转换机构,在闸阀开启的关闭过程的任何位置上,都可十分方便的转动操作手柄,直接地进行由气动至手动或由手动至气动的操作方式的转换,转换操作手柄采用定位销式自锁设计,手柄定位后,可靠镇定。由电磁阀及其控制电路或供风系统发生故障时,不需其他辅助工具,即可迅速转换成手动操作状态,保证线路正常运行,避免事故发生。在新建工程的自控制系统未完成之前,本系列闸阀可以可靠地作为手动闸阀使用,动作时灵活轻快。
关阀时间可调通过调整,安装在隔板上的缓冲机构,还可以在一定范围内调整闸板关闭的时间。
可配用回讯器

工作状况(1)--开阀初始阶段工作力=2P 工作状况(2)--开阀终了阶段工作力=P

工作状况(3)--关阀初始阶段工作力=P 工作状况(4)--关阀终了阶段工作力=P
双缸式气动带手动楔式闸阀系统控制原理图

本阀可以配用电的或气的回讯器,用以发送阀门开关状态信息。因此,使用本阀可以实现远距离控制,集中控制和自动控制。
△耐腐防蚀的气缸 本阀的气缸选用于无缝钢管制造,内表面镀以耐腐性硬铬,并经抛光处理,具有磨擦力小、不易锈蚀、高硬度、寿命长等优点。
△气缸中的密封圈采用丁晴橡胶○形密封圈,密封性能可靠,维修时更换方便。
四、性能规范
1、阀体性能
| 型号 |
公称压力PN(MPa) |
阀体试验压力
PN(MPa) |
工作温度(℃) |
| 120 |
200 |
225 |
250 |
300 |
350 |
400 |
425 |
| 强度试验 |
密封试验 |
工作压力P(MPa) |
| Z6S41T-10 |
1.6 |
2.4 |
1.6 |
- |
1.6 |
- |
1.5 |
1.3 |
1.2 |
1.0 |
0.9 |
| Z6S41H-25 |
2.5 |
3.8 |
2.5 |
- |
2.5 |
- |
2.3 |
2.0 |
1.8 |
1.6 |
1.4 |
| Z6S41H-40 |
4.0 |
6.0 |
4.0 |
- |
4.0 |
- |
3.6 |
3.2 |
2.8 |
2.6 |
2.2 |
| Z6S41H-64 |
6.4 |
9.6 |
6.4 |
- |
6.4 |
- |
5.7 |
5.2 |
4.6 |
3.8 |
3.6 |
2、气缸性能
| 型号 |
公称压力
PN(MPa) |
气缸密封试验压力
PN(MPa) |
气缸工作压力
PN(MPa)
|
Z6S41T-10
Z6S41H-25
Z6S41H-40
Z6S41H-64
|
0.6 |
0.6 |
0.4~0.6 |
3、耗气量
净化压缩空气压力:0.4MPa(表)] 闸阀的气缸单程耗气量(以压缩空气体积计算)
| 气缸直径D(mm) |
50 |
80 |
100 |
150 |
200 |
250 |
300 |
350 |
400 |
| 耗气量(m) |
0.0023 |
0.0029 |
0.0033 |
0.0084 |
0.0169 |
0.0198 |
0.0320 |
0.0636 |
0.0707 |
|